home > product> solutions > remote i/o modules/units > I-8K & I-87K > I-8057W/I-8057PW > I-8057W/I-8057PW Hardware
 
 
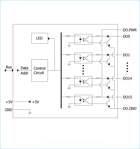
Internal I/O Structure
 
TOP | HOME
PIN Assignment
 
TOP | HOME
Wire Connection
 
TOP | HOME
 

oӭWeݭns Adobe Flash PlayerC

o Adobe Flash Player