|
| |
|
| |
~NEW~ |
| |
|
|
|
 |
|
|
|
| |
|
|
| |
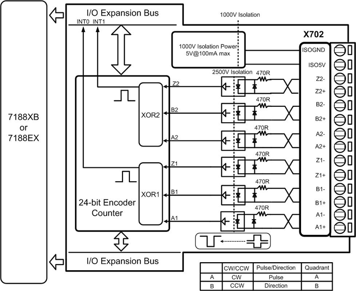
- 2-axis encoder counter
- 32-bit encoder counter
- Encoder mode: Quadrant ,CW/CCW , Pulse/Direction
- Maximum counting rate:1MHz
- Input Level:
- Input 5V
Logic High: 3.5V~5V
Logic Low : 0V~2V
- Input 12V with external resistor 1K ohm
Logic High: 5V~12V
Logic Low : 0V~2V
- Input 24V with external resistor 2K ohm
Logic High: 7V~24V
Logic Low : 0V~2V
- Built-in XOR logic for active high or low
- Isolated voltage output: +5V,100 mA(max)
|
|
|
|
|
| |
|
|
| |
|
|
| |
|
|
| |
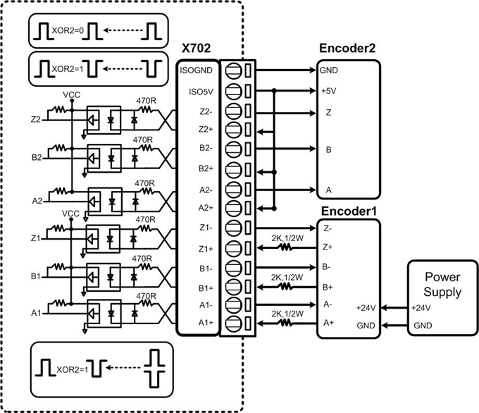
| X702 |
2-axis Encoder Module |
|
|
| |
|
|
|
|
|
| |
|
|
| |
|
|
|
|
|
|